“Computing platform” word is a ubiquitous word in the technology arena, with wide coverage that includes hardware, software, services etc. in its realm. Technocrats use it in various perspectives and link it to above mentioned and various other IT technologies, but one thing that’s common across all the usages is that the “computing platform” forms the core of the product.
The scope of this article is to sneak-peek and compare various hardware computing platforms, so that the reader can consider choosing the right hardware computing platform for its computing needs.
Hardware computing platform comparison
Though there are various types of the hardware computing platform, as part of this article we would limit ourselves in comparing only four major categories (Microprocessors, Microcontrollers, Digital Signal processors (DSP) and Programmable Logic Controllers (PLC)) that form bulk of the hardware computing platforms, prevalent in the embedded systems, IoT and process control industry.
While comparing these prominent hardware computing platforms, crucial parameters of each of the computing platform are considered for insights.
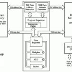
Internals:
By now reader would have gained an idea on the major factor that differentiates these hardware computing platforms and based on the problem statement at hand, the reader can then decide on using one or a combination of more than one computing platform in the solution. After the unwanted choices of the computing platform is eliminated, it is recommended to the reader further dive deeper into the selected computing platform sub-types and find a better fit as per the needs.
Naresh Kumar Rana is an Embedded Systems, IoT and Robotics enthusiast current working at Nagarro Software.












